發布時間:2021-07-19 10:03:15
1環網柜的部件組成
環網柜,也被稱為環網供電的單位,是一組高壓開關設備裝在鋼板金屬柜體內或做成拼裝間隔式環網供電單元的電氣設備,其核心部分采用負荷開關和熔斷器。每個環網柜由 3 到 5 路總開關盒形成的靈活連接模式,以滿足不同電力分配網絡節點的供電需求。由于電源開關裝置和硬母線被封裝在同一個封閉的金屬外殼,一般使用作為絕緣和滅弧介質,開關采用三相聯動的三工位 SF6 氣體負荷開關或斷路器,高性能的彈簧機構可以實現快速分開關運作。一個單獨的環網單元從進線單位、計量單位、TV 單位等不同的模塊和母線單元組成,并可以根據實際需要任意組合各種不同的方案。
2環網柜的分類
環網柜一般分為空氣絕緣、固體絕緣和SF6絕緣三種,用于分合負荷電流,開斷短路電流及變壓器空載電流,一定距離架空線路、電纜線路的充電電流,起控制和保護作用,是環網供電和終端供電的重要開關設備。
柜體中,配空氣絕緣的負荷開關主要有產氣式、壓氣式、真空式,配 SF6絕緣的負荷開關為SF6式,由于SF6氣體封閉在殼體內,它形成的隔 斷斷口不可見。環網柜中的負荷開關,一般要求三工位,即切斷負荷,隔離電路、可行靠接地。
產氣式、壓氣式和SF6式負荷開關易實現三工位,而真空滅弧式只能開斷,不能隔離,所以一般真空負荷環網開關柜在負荷開關前再加上一個隔離開關,以形成隔離斷口。
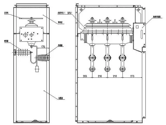
3環網柜的結構特點
a、環網柜由開關室、熔斷器室、操動機構室和電纜室(底架)四部分組 成。
b、開關室由密封在金屬殼體內的各個功能回路(包括接地開關和負荷開關)及其回路間的母線等組成。殼體由3㎜冷軋鋼板(或不繡鋼板)焊接而成。每一個功能回路包括一臺負荷開關和接地開關。負荷開關是由垂直運動的動觸頭系統和位于下端的靜觸頭組成,開關合閘時,動觸頭向下運動,負荷開關接通。接地開關由動觸刀和靜觸刀組成,在彈簧運動過程中,接地開關快速接通。開關室上部和后部開有4個長方形裝配工藝孔,環網柜的正面裝有觀察窗,可看到接地開關的“分”、“合”位置。在環網柜的后部裝有防爆裝置。
c、負荷開關采用壓氣內吹式結構,滅弧能力強,且不影響相間及對地絕緣,動、靜觸頭均帶有弧觸頭,大大提高了開斷次數。
d、熔斷器與負荷開關室構成變壓器保護回路,高壓限流熔斷器裝于環氧澆注的絕緣殼體內,熔斷器熔斷后,彈出撞針,負荷開關分閘。
e、操動機構室位于環網柜正面,在每個功能回路中,負荷開關配有人力(或電動)儲能彈簧操動機構,接地開關配有人力儲能彈簧操動機構,面板上有分別用于負荷開關合閘操作和手動分閘旋轉鈕及接地開關的分、合閘操作孔,負荷開關分、合閘位置指示燈和電動分、合閘按鈕,并設有模擬線、開關狀態顯示牌及加鎖位置,負荷開關和接地開關的操作具有聯鎖裝置,以防止誤操作。